您的當前位置:網站首頁 > 新聞中心 > 行業新聞 > 石灰破碎粉磨設備匯總介紹
發布時間:2015-03-31 10:02:07
更新時間:2021-05-26 10:02:07
作者:紅星
歡迎
在線咨詢
獲取報價清單及產品資料,賺錢從這里開始、期待您的來廠參觀!
石灰破碎粉磨設備
由于現代工業對于石灰的加工有著不同的要求,尤其是對石灰的粒度要求各有不同,所以,石灰出廠前需要進行破粉碎加工,以保證滿足工業對石灰不同粒度的需要。
目前,石灰的破粉碎加工設備常用的有環錘式破碎機、籠型粉碎機、管磨機、懸輥式磨粉機和壓球機。
*1、環錘式破碎機 *
.jpg)
該機是帶有環錘的沖擊轉子式破碎機。當無聊進入破碎機后,首先受到歲轉子告訴旋轉并能繞錘銷自轉的環錘的沖擊作用而破碎,唄破碎的物料同時從環錘處獲得動能,高度地沖向破碎板,受到二次破碎,然后落到篩板上,受到環錘的剪切、擠壓、研磨及物料和物料直接的相互作用進一步破碎,并有過篩孔排出。出料粒度的調節是通過更換不同規格的篩板來實現的。轉子與篩板直接的間隙,可根據需要通過調節機構進行調節。環錘式破碎具有電耗小,調節方便,噪音低等優點。缺點是當箅孔較小時,箅條容易堵塞。主要結構如下圖。

1-主軸;2-轉子;3-錘頭;4-機架;5-破碎板;6-篩條
*2、籠型粉碎機 *
(1).jpg)
該機的主要粉碎部件是由兩個相對回轉的籠子組成,每個籠子都有一個固定在輪上的鋼盤,垂直于鋼盤按同心圓固裝著2-3圈的鋼棒籠型粉碎機是利用回轉的鋼棒對物料的撞擊作用而將其粉碎。物料由料斗進入兩個彼此相對旋轉的籠子,物料首先落到最里圈的鋼棒上,受到鋼棒猛烈沖擊作用而被粉碎,并在離心力的作用下被拋向另一圈鋼棒上,實現再次粉碎,如此循環,直到物料通過所以的各圈鋼棒為止,被粉碎的物料落到籠外機殼的底部卸出。結構如下圖。

1,7-轉動軸;2-裝料斗;3,5-轉籠;4,6-輪轂;8-機架;9-螺桿;10-螺母
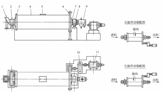
3、管磨機
.jpg)
主要由筒體部、卸料部、主軸承和轉動裝置等部分組成,主要用于石灰的細磨。用格子板將管磨機分成兩個或三個倉室,多倉磨的優點是物料受到大鋼球粉碎,隨著粒度逐漸變細受到中鋼球、小鋼球或者剛段的粉碎,從而產生較好的粉碎效果。結構如下圖。

1-進料口;2,8-主軸承;3,7-端蓋;4-筒體;5-入孔;
6-大齒輪;9-卸料筒;10-減速機;11-電動機
4、懸輥式磨粉機
.jpg)
下圖為其布置圖。懸輥式磨粉機在粉磨過程中,物料由顎式破碎機初碎后,經斗式提升機輸送到貯料斗,再經過給料機送入研磨室進行研磨,研磨后的粉料唄鼓風機吹到研磨室上方的分幾期進行分級。粒度較大的顆粒仍然落入到研磨室重磨,粒度合乎要求的物料隨同風流進入大旋風收集器,再經出料管排出即為成品。

1-顎式破碎機;2-斗式提升機;3-貯料斗;4-給料機;5-研磨室;6-廢氣管;7-鼓風機;
8-出料管;9-小旋風收集器;10-大旋風收集器;11-回風管
一般來說,由于石灰的硬度較低,粉碎時比較困難,所以對石灰的磨細幾乎都要用到管磨機和懸輥式磨機,管磨機主要用于豎窯石灰的細磨,而懸輥式磨機則適用于制造輕燒石灰粉。我公司專業生產各種石灰粉碎設備,歡迎前來咨詢選購。
![]()
![]()
在線留言想了解價格?產量?型號?售后?請留言,我們第一時間為您回復